
Техника пневмоколесная по техническим характеристикам полностью соответствует своей базовой модели. Модернизации подверглись кузов и кабина машиниста — в их дизайн были внесены существенные изменения позволившие выполнять грузоподъемные операции наиболее эффективно и качественно.
Несмотря на свой приличный возраст, данный кран до сих пор не утратил своей актуальности. Благодаря возможности перемещаться с грузом на стреле с минимальным риском переворота, он активно используется до сих пор на различных складах и лесозаготовительных участках при погрузке леса в транспортные средства.
Техника приводится в действие дизельным двигателем, оснащенным гидротрансформатором.
В основной комплект рабочего оборудования входят: стрела длиной 10 м (снащена ограничителем движения, препятствующим ее запрокидыванию при работе на минимальном вылете), крюк грузоподъемностью 16 т и грейфер объемом 1,5 куб.м. В дополнение к базовому комплекту производитель поставляет набор сменного оборудования, в который входят удлинители для стрелы в виде 5-метровых секций и 6-метровый гусек без возможности регулировки. Съемные секции позволяют увеличить длину до 15 м., 20 м. и 25 м.
|
Купить запчасти КС-4361А можно связавшись с менеджерами по телефонам: +7 (38451) 6-44-44 +7 (38451) 6-41-60 |
Юргинский машиностроительный завод оснащает грузоподъемную технику данной модели пневмогидравлической системой управления. Пневмокамерные муфты управляют валами лебедок и реверса, барабанами, поворотным и реверсивным механизмами. Регулировка рабочих скоростей осуществляется посредством турбо трансформатора, который напитывается от гидросистемы крана.
Внимание! Каждые 4000 моточаса необходимо выполнять текущий ремонт КС-4361А.
Ходовая часть оснащена опорами, регулируемыми при помощи винтовых домкратов, на концах которых установлены небольшие башмаки. В пределах рабочей площадки техника перемещается своим ходом с примерной скоростью до 3 км/час. Перемещение груза на крюке допускается при длине стрелы, не превышающей 15 м, стрела при этом должна быть направлена вдоль продольной оси.
Транспортировка КС-4361А по автодороге осуществляется посредством буксирования на тягаче со скоростью передвижения не более 20 км/час, а на поворотах или уклонах — не более 3 км/час. На тягаче кран закрепляется при помощи сцепного устройства. Перед буксировкой необходимо снять карданный вал одного из мостов и отключить цилиндры разворота колес, а коробку передач установить в нейтральное положение.
Перевозка техники по железной дороге осуществляется на четырехосной платформе. На платформу КС-4361А устанавливают при помощи монтажного крана грузоподъемностью не ниже 25 т. Перед погрузкой с техники необходимо снять пневмоколеса, а секции разъединить и уложить верхнюю на нижнюю. Сменные удлинители стрелы перевозятся на отдельной платформе.

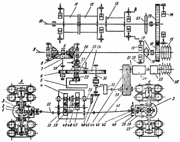
Механизмы данной грузоподъемной техники приводятся в движение посредством турбо трансформатора 35. В конструкции использована одна трех барабанная лебедка, на общем валу которой закреплены барабаны грузового, стрелового и грейферного.
Поскольку кран КС-4361А оснащается одномоторным приводом, четко определить на его кинематической схеме лебедки основного и вспомогательного подъема довольно затруднительно. По этой причине в схеме рассматривается конструкция только тех механизмов, которые имеют непосредственную связь с исполнительными органами, то есть барабанами.

В корпусе гидротрансформатора ТРК-325 расположены три колеса: насосное 1, турбинное 2 и направляющее 3, или реактор. Реактор соединяется с корпусом жестко, насосное ведущее колесо приводится в движение валом 4 двигателя, а ведомое турбинное колесо связывается с ведомым валом.
Для охлаждения рабочей жидкости в устройстве предусмотрен радиатор 5. Жидкость прогоняется через него посредством шестеренного насоса 6. В схему трансформатора входят также гидробаки 7, фильтр, перепускной клапан и обгонная муфта. Когда турбинное и насосное колеса вращаются с одинаковой частотой, приходит в движение муфта, соединяющая валы 4 и 8.
Направление движения жидкости в системе регулируется с помощью пневмотолкателя, золотника, диффузора и эжектора. Выключается трансформатор посредством слива жидкости из системы. Дополнительно на валу 8 может устанавливаться тормоз, управление которым осуществляет машинист крана КС-4361А.
На исполнительных механизмах монтируется система пневмоуправления, в которую входят пневмокамеры и трубопроводы и пульт управления с пневмораспределителем, а также ресивер, холодильник, компрессор и масловлагоотделитель.

Попадая в компрессор 13, воздух сжимается в I ступени, проходит через холодильник и масловлагоотделитель, где очищается от примесей масла и влаги и сжимается во II ступени до показателя 0,6-0,7 МПа, после чего поступает в ресивер, откуда через трубопровод подается на пульт 3. С него сжатый воздух по трубопроводам и вращающимся соединениям 10 подается на пневмокамерные муфты 7 крановых механизмов. Когда какой-либо из механизмов выключается, воздух из муфт выбрасывается в атмосферу. Быстрое растормаживание обеспечивается клапанами 8, установленными в системах турбо трансформатора, тормозных и пневмокамерных муфт.
За счет оснащения систем механизмов регуляторами потока 18 платформа КС-4361А вращается плавно. Управление осуществляется с пульта посредством золотников. Механизмы, управление которыми не требует изменения давления в системе, оснащаются золотниками прямого действия. Если для включения требуются внешние усилия, на них устанавливают дифференциальные золотники. Краны с одномоторным приводом — двигателем внутреннего сгорания — оснащены дифференциальными золотниками, установленными на механизмах с фрикционными муфтами.

Электрооборудование крана служит для освещения кабины и питания фар, а также для включения световой или звуковой сигнализации. Такие операции как запуск двигателя, обогрев кабины, ее вентиляция и подогрев дизеля также производятся с помощью электрооборудования. В качестве источника постоянного тока используется генератор Г-66, работающий от дизеля. В движение генератор приводится посредством зубчатой передачи. Генератор Г-66 служит также для подзарядки аккумуляторной батареи 6СТ-42.
Регулирование напряжения на генераторе осуществляется при помощи релейного устройства, в которое входит реле напряжения, ограничитель тока и реле обратного тока, используемое для поддержания заряда аккумуляторной батареи при неработающем дизеле. От короткого замыкания генератор защищают плавкие предохранители.
При неработающем дизеле питание сети осуществляется от аккумуляторной батареи. От нее работает также электростартер пускового двигателя. Величина зарядного и разрядного токов определяется амперметром.
К системе электрооборудования относятся также преобразователи, установленные на двигателе, компрессоре и масляном баке турбо трансформатора. С их помощью осуществляется передача информации на приборы, контролирующие температуру и давление воды и масла в дизеле, компрессоре и турбо трансформаторе.
При работающем дизеле система через специальное реле обеспечивает питание электромагнита. Цепь электромагнита служит для управления стрелой с помощью конечного выключателя. Как только стрела КС-4361А достигает предельного положения, выключатель срабатывает — при этом золотник, установленный в цепи электромагнита, отключает турбо трансформатор и включает тормозное устройство лебедки. Заторможенный барабан фиксирует стрелу в конечном положении, препятствуя ее запрокидыванию на платформу.
Для возврата стрелы в рабочее положение используется кнопка управления, осуществляющая шунтирование конечного выключателя. Ограничитель грузоподъемности ОГП-1, блокирующий работу грузовой лебедки, также включается посредством нажатия кнопки. Еще одна кнопка, расположенная на пульте управления, предназначена для включения звукового сигнала. В системе предусмотрена также штепсельная розетка для переносной лампы, используемой во время проведения ремонтных работ. Чтобы при работе на минимальном вылете стрела не запрокидывалась на платформу, в конструкции используются упоры с гибкими элементами.

Канатная тяга 2 проходит через стрелу 4 по отклоняющим роликам 1 и крепится к платформе. Канаты поддерживаются пружинами 3, не допускающими провисания тяги. Натяжение каната удерживает стрелу в наклонном положении, предохраняя ее от падения.
|
Грузоподъемность, т: |
|
|
. на опорах: |
|
|
.. при наименьшем вылете крюка |
16 |
|
.. при наибольшем вылете крюка |
3,75 |
|
. без опор: |
|
|
.. при наименьшем вылете крюка |
9 |
|
.. при наибольшем вылете крюка |
2,5 |
|
Вылет крюка, м: |
|
|
.. наименьший |
3,75 |
|
.. наибольший |
10 |
|
Высота подъема крюка, м: |
|
|
.. при наименьшем вылете крюка |
8,8 |
|
.. при наибольшем вылете крюка |
4 |
|
Скорости: |
|
|
.. подъема основного крюка, м/мин |
10 |
|
.. опускания , м/мин |
0 - 10 |
|
.. частота вращения поворотной платформы, об/мин |
0,5 - 2,8 |
|
.. передвижения крана самоходом, км/ч |
3; 15 |
|
Наибольшая нагрузка на опору, кН |
213 |
|
Наибольшая нагрузка на ось, кН |
150 |
|
Наименьший радиус поворота (по внешнему колесу), м |
12,2 |
|
Наибольший угол подъема пути, град |
15 |
|
Двигатель: |
|
|
.. марка |
СМД-14А |
|
.. мощность, л.с. |
75 |
|
Колея колес, м: |
|
|
.. передних |
2,4 |
|
.. задних |
2,4 |
|
Масса крана, т |
23,7 |
|
В том числе противовеса, т |
--- |
Грузоподъемность при движении и преодолеваемый угол подъема в пути в транспортном положении
|
Грузоподъемность при движении, т * |
9 |
|
Процент от номинальной грузоподъемности |
56 |
|
Преодолеваемый угол подъема пути (без груза), град. |
12 |
|
Уклон площадки при работе крана, град. |
3 / 1,5 ** |
* - Грузоподъемность указана при стреле, расположенной вдоль оси крана.
** - В знаменателе - допускаемый угол наклона крана при работе на выносных опорах.
Характеристики основного и сменного стрелового оборудования крана КС-4361А
|
Длина основной стрелы, м |
10 |
|
Наибольшая длина удлиненной стрелы, м |
25 |
|
Длина неуправляемого гуська, м |
--- |
|
Башенно-стреловое оборудование: |
|
|
.. наибольшая длина дополнительной стрелы, м |
--- |
|
.. наибольшая длина башни, м |
--- |
|
Емкость грейфера, м3 |
1,5 |
Контакты. Произвести заказ на приобретение крана или запасных частей к нему можно в отделе продаж по телевону (38451) 6-44-44.